ᠲᠡᠷᠢᠭᠦᠨ ᠬᠠᠭᠤᠳᠠᠰᠤ
ᠰᠣᠨᠢᠨ ᠮᠡᠳᠡᠭᠡ
ᠢᠯᠡ ᠵᠠᠰᠠᠭ
ᠦᠢᠯᠡᠴᠢᠯᠡᠭᠡ
《 ᠰᠠᠭ᠋ᠠᠳ ᠦᠭᠡᠢ ᠨᠡᠪᠲᠡᠷᠡᠬᠦ ᠵᠠᠮ 》 ᠵᠶ᠋ᠠᠷ ᠴᠢᠳᠠᠪᠣᠷᠢᠲᠠᠨ᠎ᠢ ᠣᠷᠣᠭᠤᠯᠤᠨ ᠠᠪᠴᠢᠷᠠᠬᠤ
ᠠᠵᠢᠯ ᠦᠢ᠍ᠯᠡᠰ᠎ᠤᠨ ᠨᠢᠭᠡᠴᠢ ᠵᠢᠨ ᠠᠵᠢᠯᠲᠠᠨ ᠤᠷᠢᠵᠤ ᠡᠯᠰᠡᠬᠦ ᠮᠡᠳᠡᠭᠡ ᠵᠠᠩᠭᠢ
ᠦᠢᠯᠡᠴᠢᠯᠡᠭᠡ   -   ᠲᠠᠨ᠎ᠳᠤ ᠦᠢᠯᠡᠴᠢᠯᠡᠬᠦ᠌
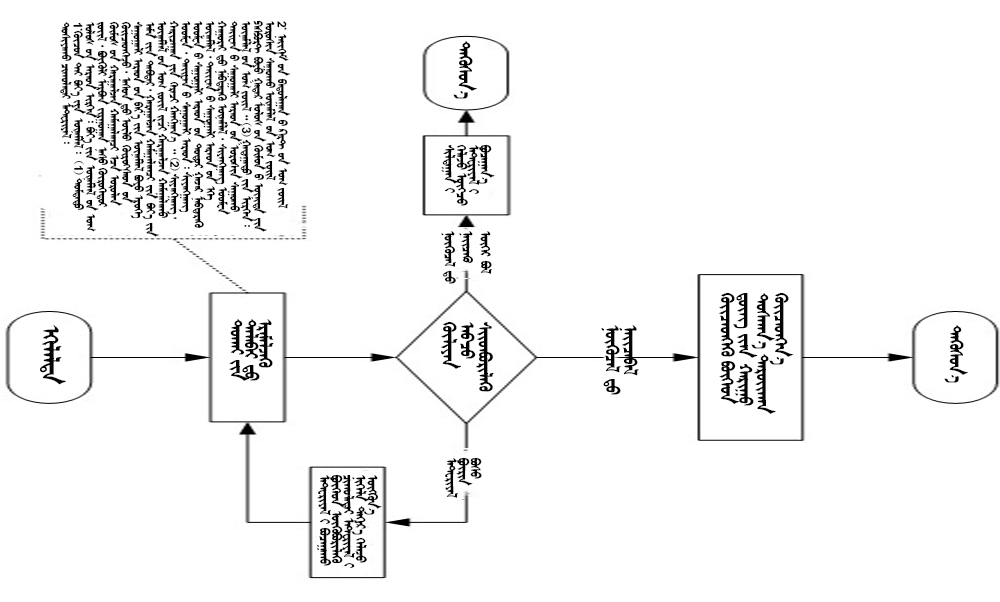
ᠨᠡᠢ᠌ᠭᠡᠮ᠎ᠤᠨ ᠪᠠᠳᠤᠯᠠᠭ᠋ᠠᠨ᠎ᠤ ᠺᠠᠷᠲ᠎ᠢ ᠬᠦᠴᠦᠨ ᠦᠭᠡᠢ ᠪᠣᠯᠭ᠋ᠠᠬᠤ ᠶᠠᠪᠤᠴᠠ
ᠨᠡᠶ᠋ᠢᠲᠡᠯᠡᠭᠰᠡᠨ ᠴᠠᠭ᠄ 2022-04-12

社保卡注销.jpg

ᠢᠷᠡᠯᠲᠡ᠄ ᠥᠪᠡᠷᠲᠡᠭᠡᠨ ᠵᠠᠰᠠᠬᠤ ᠣᠷᠣᠨ᠎ᠤ ᠬᠥᠮᠦᠨ᠎ᠤ ᠬᠦᠴᠦᠨ᠎ᠤ ᠡᠬᠢ ᠪᠠᠶᠠᠯᠢᠭ ᠪᠠ ᠨᠡᠶ᠋ᠢᠭᠡᠮ᠎ᠤᠨ ᠪᠠᠲᠤᠯᠠᠭ᠎ᠠ ᠵᠢᠨ ᠲᠢᠩᠬᠢᠮ
          
ᠬᠠᠮᠢᠶ᠎ᠡ ᠪᠦᠬᠦᠢ ᠰᠣᠨᠢᠨ
ᠨᠡᠢ᠌ᠭᠡᠮ᠎ᠤᠨ ᠪᠠᠳᠤᠯᠠᠭ᠋ᠠᠨ᠎ᠤ ᠺᠠᠷᠲ᠎ᠢ ᠡᠬᠢᠯᠡᠵᠦ ᠬᠡᠷᠡᠭᠯᠡᠬᠦ (ᠨᠡᠢ᠌ᠭᠡᠮ᠎ᠤᠨ ᠪᠠᠳᠤᠯᠠᠭ᠋ᠠᠨ᠎ᠤ ᠺᠠᠷᠲ᠎ᠤᠨ ᠪᠠᠩᠬᠢ ᠵᠢᠨ ᠳᠠᠩᠰᠠᠨ ᠳ᠋ᠤᠭ᠋ᠠᠷ ᠠᠮᠢᠯᠠᠭᠤᠯᠬᠤ ᠪᠠᠭᠳᠠᠨ᠎ᠠ)
ᠨᠡᠢ᠌ᠭᠡᠮ᠎ᠤᠨ ᠪᠠᠳᠤᠯᠠᠭ᠋ᠠᠨ᠎ᠤ ᠺᠠᠷᠲ᠎ᠤᠨ ᠬᠡᠷᠡᠭᠯᠡᠭᠡᠨ᠎ᠤ ᠪᠠᠢ᠌ᠳᠠᠯ᠎ᠢ ᠠᠰᠠᠭᠤᠨ ᠯᠠᠪᠯᠠᠬᠤ ᠶᠠᠪᠤᠴᠠ
ᠨᠡᠢ᠌ᠭᠡᠮ᠎ᠤᠨ ᠪᠠᠳᠤᠯᠠᠭ᠋ᠠᠨ᠎ᠤ ᠺᠠᠷᠲ᠎ᠢ ᠭᠡᠭᠡᠭᠰᠡᠨ ᠵᠶ᠋ᠡᠨ ᠮᠡᠳᠡᠬᠦᠯᠬᠦ ᠪᠠ ᠲᠠᠢ᠌ᠯᠬᠤ ᠶᠠᠪᠤᠴᠠ
ᠨᠡᠢ᠌ᠭᠡᠮ᠎ᠤᠨ ᠪᠠᠳᠤᠯᠠᠭ᠋ᠠᠨ᠎ᠤ ᠺᠠᠷᠲ ᠡᠷᠡᠮᠡᠯᠵᠡᠨ ᠠᠪᠬᠤ ᠶᠠᠪᠤᠴᠠ
ᠨᠡᠢ᠌ᠭᠡᠮ᠎ᠤᠨ ᠪᠠᠳᠤᠯᠠᠭ᠋ᠠᠨ᠎ᠤ ᠺᠠᠷᠲ᠎ᠤᠨ ᠨᠢᠭᠤᠴᠠ ᠳ᠋ᠤᠭ᠋ᠠᠷ᠎ᠢ ᠦᠭᠡᠷᠡᠴᠢᠯᠡᠬᠦ ᠪᠠ ᠲᠠᠬᠢᠨ ᠲᠤᠬᠢᠷᠠᠭᠤᠯᠬᠤ
 
            