ᠲᠡᠷᠢᠭᠦᠨ ᠬᠠᠭᠤᠳᠠᠰᠤ
ᠰᠣᠨᠢᠨ ᠮᠡᠳᠡᠭᠡ
ᠢᠯᠡ ᠵᠠᠰᠠᠭ
ᠦᠢᠯᠡᠴᠢᠯᠡᠭᠡ
《 ᠰᠠᠭ᠋ᠠᠳ ᠦᠭᠡᠢ ᠨᠡᠪᠲᠡᠷᠡᠬᠦ ᠵᠠᠮ 》 ᠵᠶ᠋ᠠᠷ ᠴᠢᠳᠠᠪᠣᠷᠢᠲᠠᠨ᠎ᠢ ᠣᠷᠣᠭᠤᠯᠤᠨ ᠠᠪᠴᠢᠷᠠᠬᠤ
ᠠᠵᠢᠯ ᠦᠢ᠍ᠯᠡᠰ᠎ᠤᠨ ᠨᠢᠭᠡᠴᠢ ᠵᠢᠨ ᠠᠵᠢᠯᠲᠠᠨ ᠤᠷᠢᠵᠤ ᠡᠯᠰᠡᠬᠦ ᠮᠡᠳᠡᠭᠡ ᠵᠠᠩᠭᠢ
ᠦᠢᠯᠡᠴᠢᠯᠡᠭᠡ   -   ᠲᠠᠨ᠎ᠳᠤ ᠦᠢᠯᠡᠴᠢᠯᠡᠬᠦ᠌
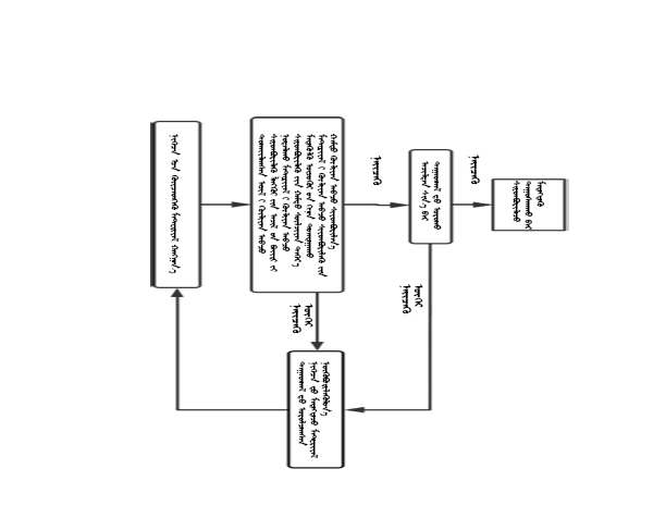
ᠪᠠᠢ᠌ᠭᠤᠯᠭ᠎ᠠ ᠠᠵᠢᠯ ᠦᠢ᠍ᠯᠡᠰ᠎ᠤᠨ ᠨᠢᠭᠡᠴᠡ ᠵᠢᠨ ᠠᠵᠢᠯᠳᠠᠨ ᠳᠠᠭ᠋ᠠᠳᠬᠠᠯ᠎ᠳᠤ ᠤᠷᠤᠯᠴᠠᠬᠤ᠎ᠪᠠᠷ ᠳᠠᠩᠰᠠᠯᠠᠬᠤ ᠶᠠᠪᠤᠴᠠ
ᠨᠡᠶ᠋ᠢᠲᠡᠯᠡᠭᠰᠡᠨ ᠴᠠᠭ᠄ 2022-09-21

机关事业单位职工参保登记.jpg

ᠢᠷᠡᠯᠲᠡ᠄ ᠥᠪᠡᠷᠲᠡᠭᠡᠨ ᠵᠠᠰᠠᠬᠤ ᠣᠷᠣᠨ᠎ᠤ ᠬᠥᠮᠦᠨ᠎ᠤ ᠬᠦᠴᠦᠨ᠎ᠤ ᠡᠬᠢ ᠪᠠᠶᠠᠯᠢᠭ ᠪᠠ ᠨᠡᠶ᠋ᠢᠭᠡᠮ᠎ᠤᠨ ᠪᠠᠲᠤᠯᠠᠭ᠎ᠠ ᠵᠢᠨ ᠲᠢᠩᠬᠢᠮ
          
ᠬᠠᠮᠢᠶ᠎ᠡ ᠪᠦᠬᠦᠢ ᠰᠣᠨᠢᠨ
ᠨᠢᠭᠡᠴᠡ ᠵᠢᠨ ᠳᠠᠭ᠋ᠠᠳᠬᠠᠯ᠎ᠳᠤ ᠤᠷᠤᠯᠴᠠᠭᠰᠠᠨ ᠭᠡᠷᠡᠴᠢ ᠵᠢ ᠡᠷᠢᠵᠦ ᠳᠠᠷᠤᠮᠯᠠᠯᠠᠬᠤ
ᠪᠠᠢ᠌ᠭᠤᠯᠭ᠎ᠠ ᠠᠵᠢᠯ ᠦᠢ᠍ᠯᠡᠰ᠎ᠤᠨ ᠨᠢᠭᠡᠴᠡ ᠵᠢᠨ ᠨᠠᠰᠤᠵᠢᠯ᠎ᠤᠨ ᠳᠠᠭ᠋ᠠᠳᠬᠠᠯ᠎ᠤᠨ ᠬᠤᠪᠢ ᠬᠦᠮᠦᠨ᠎ᠤ ᠡᠷᠬᠡ ᠠᠰᠢᠭ᠎ᠤᠨ ᠲᠡᠮᠳᠡᠭᠯᠡᠯ᠎ᠢ ᠡᠷᠢᠵᠦ ᠳᠠᠷᠤᠮᠠᠯᠯᠠᠬᠤ ᠶᠠᠪᠤᠴᠠ
ᠠᠵᠤ ᠠᠬᠤᠢ᠌ᠯᠠᠯ᠎ᠤᠨ ᠨᠠᠰᠤᠵᠢᠯ᠎ᠤᠨ ᠳᠠᠭ᠋ᠠᠳᠬᠠᠯ᠎ᠤᠨ ᠬᠤᠪᠢ ᠬᠦᠮᠦᠨ᠎ᠤ ᠡᠷᠬᠡ ᠠᠰᠢᠭ᠎ᠤᠨ ᠲᠡᠮᠳᠡᠭᠯᠡᠯ᠎ᠢ ᠡᠷᠢᠵᠦ ᠲᠠᠷᠤᠮᠠᠯᠯᠠᠬᠤ
ᠠᠵᠢᠯ ᠤᠯᠭᠤᠯᠳᠠ ᠵᠢᠨ ᠳᠠᠳᠤᠯᠭ᠎ᠠ ᠵᠢᠨ ᠨᠦᠬᠦᠪᠦᠷᠢ ᠮᠦᠩᠬᠦ ᠡᠷᠡᠮᠡᠯᠵᠡᠨ ᠠᠪᠬᠤ ᠶᠠᠪᠤᠴᠠ
ᠠᠵᠢᠯ ᠡᠷᠢᠵᠦ ᠦᠢ᠍ᠯᠡᠰ ᠪᠦᠳᠦᠭᠡᠬᠦ ᠨᠦᠬᠦᠪᠦᠷᠢ ᠮᠦᠩᠬᠦ ᠡᠷᠡᠮᠡᠯᠵᠡᠨ ᠠᠪᠬᠤ ᠶᠠᠪᠤᠴᠠ
 
            